產品中心
最新資訊
聯系我們
產品名稱: 英飛凌IGBT模塊 FF800R17KF6C 800A 1700V
產品類型: 英飛凌IGBT
產品型號: FF800R17KF6C
發布時間: 2018-09-21
- 產品描述
詳細參數
制造商: 英飛凌
產品種類: IGBT 模塊
集電極發射極最大電壓 VCEO: 1700 V
集電極射極飽和電壓: 2.6 V
在25 C的連續集電極電流: 1300 A
柵極射極漏泄電流: 400 nA
功率耗散: 6.25 W
最小工作溫度: - 40 C
最大工作溫度: + 125 C
封裝: Tray
高度: 38 mm
長度: 140 mm
寬度: 130 mm
柵極發射極最大電壓: +/- 20 V
包裝數量: 2只
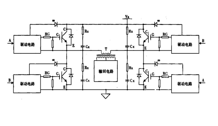
驅動及吸收電路對 IGB T 開關過程的影響 筆者在進行開關電源設計時 ,使用了如圖 1 所示的主電 路。
在下圖所示主電路中 ,對驅動及吸收參數進行了不同的選 擇試驗 ,即對 RG、RX、CX 的取值進行了不同的選擇 ,以下對幾 種選擇試驗情況分別說明。 (1) 驅動較快 ,吸收較輕 ,驅動負壓較小 取 RG 值較小 ,RX 值較大 ,CX 值較小。試驗過程中 ,先不 加主電路中的 V2 ,使控制及驅動電路正常輸出 ,然后再使 V2 從 0 逐漸升高 ,并隨時觀察 IGB T 的 GE 間波形 ,我們發現其 GE 間的波形隨 V2 的變化而有所變化。 IGB T 的 GE 間波形在其同一橋臂的另一只管子開通時產 生了較高的電壓尖鋒 ,且 V2 值越高 ,其尖峰越高。在 V2 升至 一定值時 ,其尖峰值甚至高至使 IGB T 導通的程度 ,從而產生 同一橋臂的共導 ,使 IGB T 失效 ,無法正常工作。值得注意的 是 ,富士、三菱等公司的驅動厚膜電路 ,為防止保護誤動作 ,均 設有一定的保護盲區。所以在上述電路參數的試驗中 ,由于尖 峰較窄 ,共導時間很短 ,保護電路無法動作 ,使 IGB T 多次受過 電流沖擊而失效。 由于所選參數無法使 IGB T 正常工作 ,故此電路參數根本 不能進入運行試驗。 (2) 驅動較快 ,吸收較輕 ,驅動負壓較大 RG、RX、CX 的取值同(1) ,使 IGB T 的 GE 間波形的負電壓 增大。試驗步驟同上。觀察 IGB T 的 GE 間波形 ,其在另一只 管子開通時的尖峰值雖然絕對值未小 ,但由于驅動負壓增大 , 使其值下降 ,不時出現較高的尖峰。雖然 IGB T 可工作 ,但長 期運行仍很不可靠 ,故也未對其進行運行試驗。 (3) 驅動較快 ,吸收較重 ,驅動負壓較小 取 RG 值較小、RX 值較小、CX 值較大 ,試驗步驟同 (1) 。 IGB T 的 GE 間波形在 V2 升至額定值后 ,其同一橋臂的另一只 管子開通造成的尖峰很小 , IGB T 可正常工作 ,對此電路參數 進行了運行試驗。 (4) 驅動較慢 ,吸收較輕 ,驅動負壓較大 取 RG 值較大、RX 值較大、CX 值較小。試驗步驟同 (1) 。 IGB T 的 GE 間波形在 V2 增加至額定值后 ,其尖峰仍能保證在 0 V 以下 ,IGB T 可正常工作 ,對其進行了運行試驗。 2. 不同參數對 IGB T 失效的影響 在上述所進行的各種參數的試驗中 ,我們發現 ,(1) 所用參 數 IGB T 必然失效 ; (2) 所用參數 ,雖然 IGB T 可以工作 ,但也 存在使 IGB T 失效的危險 ; (3) 所用參數在運行試驗中發現其 吸收電阻 RX 非常熱 ,且在運行期 IGB T 失效比較頻繁 ; (4) 所 用參數

- 其他產品

英飛凌igbt銷售
